
引入裝置又叫進線裝置,是外電路的導線或電纜進入防爆電氣設備的過渡裝置。引入裝置常被視為防爆電氣設備zui薄弱的環節,它的密封十分重要。
常用的引入裝置密封有三種結構:
1、密封圈式引入裝置;該引入裝置使用廣泛,包括壓盤式、壓緊螺母式引入裝置(俗稱喇叭嘴);
2、澆鑄固化填料密封式引入裝置;
3、金屬密封環式引入裝置。
電纜引入裝置是指將電纜引入電氣設備而不改變該設備防爆型式的裝置。
在有危險性氣體或者粉塵的工業環境中,對采用的儀器、儀表的防爆性、防護等級都提出了特定的要求,電纜引入裝置屬于儀器、儀表的一個重要部分,該裝置單獨滿足防爆、防護等級要求,在儀器、儀表的其它部分都滿足現場要求的情況下,配有該裝置的儀表就完全可以滿足防爆要求。
首先電纜引入裝置應符合GB/T3836.1-2021的標準,采用的是壓緊密封方式達到了密封、防爆要求,材料可根據現場使用環境來選擇,需考慮可否導磁、是否需要抗腐蝕性能等等,常用的有優質低碳鋼或耐酸不銹鋼、環保銅鍍鎳等等。
螺紋除要符合國標、便于互換外,還要滿足密封要求,中諾檢測建議采用密封錐管螺紋,螺紋的嚙合扣數要大于8,而且螺紋的配合精度也有一定的要求,比如6H6g。
要強調的是尺寸фdx,其中公差很重要,它要根據密封件的外徑尺寸фA來定,影響著整體的密封效果。因為橡膠制品的變形量大,尺寸精度會較低;這就要求фdx要盡可能的滿足的橡膠密封件,但并不是說фdx公差的越嚴格越好,引入端子與密封件的單面間隙zui好處于0.05~0.1mm 之間。
另外,壁厚也要滿足防爆要求;上墊片與下墊片的材料要符合使用場合的要求,其作用都是緩沖變形。
密封件是本裝置能否到達密封效果的關鍵,密封件的材料一般選用丁腈橡膠或者硅橡膠,也可以根據不同的應用場合來改變。
壓緊端子是整個電纜引入裝置的zui后一步。壓緊端子旋進的長度要能夠完全壓緊上墊片、密封件和下墊片,使密封件的變形量滿足密封要求;另外密封件需要做老化試驗,整個裝置裝配完成后,需要做氣密性試驗,檢驗是否滿足氣密性。
各防爆接合面的長度滿足防爆要求且要涂有防銹油;各防爆螺紋的嚙合長度滿足防爆要求。
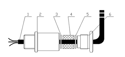
電纜的引入裝置
其中:1—同軸電纜 2——引入端子 3——上墊片 4—密封件 5——下墊片 6——壓緊端子
本文版權歸中諾檢測,抄襲盜用將保留追究權利,轉載必須注明原文出處。
粵公網安備44030002007506號 粵ICP備18004888號
